чтение rss ленты

fifa4u.ru

banner_468x60
[ Новые сообщения · Участники · Правила форума · Поиск · RSS ]
Электротехника
SlaVe4UДата: Среда, 12.01.2011, 03:34 | Сообщение # 46
Главный Администратор
Группа: Администраторы
Сообщений: 320
Награды: 23
Репутация: 222
Статус: Offline
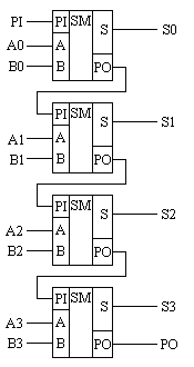
Рисунок 10. Принципиальная схема многоразрядного двоичного сумматора.
Одноразрядные сумматоры практически никогда не использовались, так как почти сразу же были выпущены микросхемы многоразрядных сумматоров. Полный двоичный четырехразрядный сумматор изображается на схемах как показано на рисунке 11.

Рисунок 11. Изображение полного двоичного многоразрядного сумматора на схемах.
Естественно, в приведенной на рисунке 10 схеме рассматриваются только принципы работы двоичных сумматоров. В реальных схемах никогда не допускают последовательного распространения переноса через все разряды многоразрядного сумматора. Для увеличения скорости работы двоичного сумматора применяется отдельная схема формирования переносов для каждого двоичного разряда. Таблицу истинности для такой схемы легко получить из алгоритма суммирования двоичных чисел, а затем применить хорошо известные нам принципы построения цифровой схемы по произвольной таблице истинности.
На этом пока закончим рассмотрение принципов работы сумматора, более сложные операции будут рассмотрены позднее, а пока для дальнейшего понимания работы операционного блока процессора необходимо научиться переключать двоичные числа на входах и выходе сумматора. Это позволяют сделать мультиплексоры, основной частью которых является дешифратор, поэтому следующим устройством, которое мы рассмотрим, будет декодер. Дешифратор является частным случаем декодера.
Прикрепления: 2122578.png (4.8 Kb)


 
SlaVe4UДата: Среда, 12.01.2011, 03:35 | Сообщение # 47
Главный Администратор
Группа: Администраторы
Сообщений: 320
Награды: 23
Репутация: 222
Статус: Offline
39
Прибор предназначен для снятия вольтамперных характеристик (ВАХ) двух- и трехполюсников. При снятии характеристик трехполюсных элементов потенциал одного из электродов фиксируется на время снятия одной ВАХ.
Структурная схема прибора представлена на рис. 1.

Рис. 1. Структурная схема характериографа:
________________________________________
1 - мультивибратор; 2 — мультивибратор времени восстановления начального состояния устройства; 3 -5 — триггеры; 6 - усилитель с цифро-аналоговым преобразователем; 7 - мультивибратор сброса; 8-инвертор: 9 - узел сброса; 10, 11-триггеры; 12 - модулятор яркости; 13 — генератор пилообразного напряжения; 14 — выходной каскад положительного линейно возрастающего пилообразного напряжения; 15 — выходной каскад отрицaтельного линейно уменьшающегося пилообразного напряжения; 16 - дифференциальный усилитель; 17 - суммирующий усилитель тока; 19 — коммутатор сигналов горизонтального отклонения; 18 коммутатор сигналов вертикального отклонения; 20 — усилитель вертикального отклонения; 21 - усилитель горизонтального отклонения; 22—блок электроннолучевой трубки.
________________________________________
Цикл работы прибора определяется системой управления. Система состоит из двух ждущих мультивибраторов — мультивибратора 1, задающего время действия пилообразного напряжения, и мультивибратора 2 времени восстановления начального состояния устройства; двух триггеров (10, 11), управляющих электронными ключами суммирующих усилителей “X” и “У” (18, 19), и трех триггеров, определяющих входные сигналы цифро-аналогового преобразователя (ЦАП).
Ступенчатое напряжение с выхода усилителя ЦАП 6 инвертируется (инвертором 8), и в зависимости от типа исследуемого устройства или элемента прямое или инвертированное напряжение определяет фиксированный параметр на время воспроизведения на экране электронно-лучевой трубки (ЭЛТ) одной ВАХ.
В результате реализации полного цикла работы устройства на экране ЭЛТ воспроизводится восемь вольтамперных характеристик, Перед воспроизведением характеристик на экране электронный луч “прочерчивает” оси абсцисс и ординат.
В рабочем режиме (режиме измерения) отклонение луча вдоль оси абсцисс пропорционально заданному напряжению, подаваемому на исследуемый прибор или устройство с генератора пилообразного напряжения. Отклонение луча вдоль оси ординат пропорционально току исследуемого прибора или устройства.
Система управления определяет следующий порядок прохождения сигналов через электронные ключи суммирующих усилителей “X” и “У”:
1. Задаваемое пилообразное напряжение подается на вход канала “X” для “прочерчивания” оси абсцисс.
2. Пилообразное напряжение подается на вход канала “У” для “прочерчивания” оси ординат.
3. Задающее пилообразное напряжение подается в канал “X”, а напряжение, пропорциональное измеряемому току исследуемого устройства,—в канал “У” (на этом этапе отображаются восемь вольтамперных характеристик).
Затем весь цикл работы прибора повторяется. Перед началом каждого цикла устройство сброса устанавливает все триггеры в начальное состояние. В зависимости от типа испытываемого элемента (устройства) переключателем ' В2 выбирают требуемый режим питания (соответствующую полярность ступенчатого и пилообразного напряжений).
Для калибровки оси ординат служит образцовый резистор Rобр, который подключается вместо испытываемого устройства переключателем ВЗ. Модуляция яркости электронного луча трубки осуществляется импульсом, формируемым системой управления на время прямого хода генератора пилообразного напряжения. Переключателем В1 определяется режим работы прибора (ручной или автоматический). Кнопка К.н1 служит для запуска прибора.
Для более четкого представления о работе прибора рассмотрим некоторые его основные узлы.
Прикрепления: 8226848.png (26.5 Kb) · 9008090.png (20.2 Kb)


 
SlaVe4UДата: Среда, 12.01.2011, 03:37 | Сообщение # 48
Главный Администратор
Группа: Администраторы
Сообщений: 320
Награды: 23
Репутация: 222
Статус: Offline
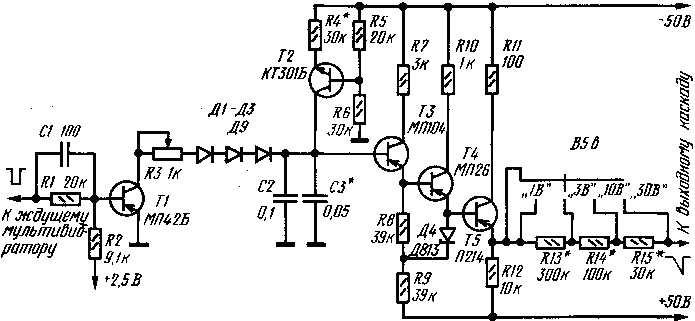
Рис. 2. Принципиальная схема генератора пилообразного напряжения
Генератор пилообразного напряжения 13. В качестве задающего генератора пилообразного напряжения применяется устройство, в котором используется заряд конденсаторов С2, СЗ от источника постоянного тока, собранного на транзисторе Т2 (рис. 2). Разряд конденсаторов происходит через диоды Д1—ДЗ и транзистор Т], который работает в ключевом режиме. Он управляется импульсом от ждущего мультивибратора. Длительность импульса мультивибратора, определяющего время прямого хода пилообразного напряжения, составляет приблизительно 1,4 мс. С выхода составного эмиттерного повторителя на транзисторах ТЗ—Т5 сигнал поступает на делитель напряжения, состоящий из резисторов R13—R15.

Рис. 3. Принципиальная схема выходного каскада положительного линейно возрастающего пилообразного напряжения
Выходные каскады пилообразного напряжения. Сигнал задающего генератора пилообразного напряжения с делителя поступает на выходной каскад 14, формирующий положительное, линейно возрастающее пилообразное напряжение. Выходной каскад (рис. 3) представляет собой инвертирующий операционный усилитель, коэффициент передачи которого определяется отношением сопротивлений резисторов R1 и R4, R9 (при условии, что коэффициент передачи усилителя без цепи обратной связи намного больше 1). Усилитель состоит из дифференциального каскада на транзисторах Т1, ТЗ с генератором тока, включенным в их эмиттерные цепи (транзистор Т2), и составного эмиттерного повторителя (транзисторы Т4, Т5). Усилитель обладает низким выходным сопротивлением.

Рис. 4. Принципиальная схема выходного каскада отрицательного линейно уменьшающего пилообразного напряжения
Схема выходного каскада (рис. 4), формирующего отрицательное линейно уменьшающееся пилообразное напряжение, аналогична схеме описанного выходного каскада. Отличие состоит лишь в применении в его узлах других типов транзисторов.

Рис. 5. Принципиальная схема усилителя измерения тока
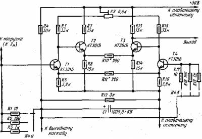
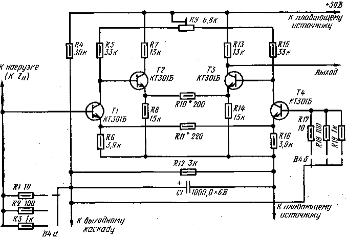
Узел измерения тока. Пилообразное напряжение с выходных каскадов через переключатель В2 (см. рис. I). подается на узел измерения тока (рис. 5), особенностью которого является питание от “плавающего” источника. Переключателем В4 выбирают необходимый интервал измеряемого тока. Напряжение, пропорциональное измеряемому току, действующее на одном из резисторов R1—R3, подается на вход балансного усилителя 16.
Балансный усилитель состоит из входного и выходного дифференциальных каскадов соответственно на транзисторах Т1, Т4 и T2, ТЗ. Резисторы R17—R19 служат для устранения смещения балансного усилителя при переключении диапазонов измеряемого тока. Балансировка усилителя осуществляется переменным резистором R9. Выходным напряжением балансного усилителя узла измерения тока является сумма соответствующего пилообразного напряжения и напряжения, пропорционального измеряемому току.
Прикрепления: 6941314.png (14.7 Kb) · 1720877.png (14.9 Kb) · 7864931.png (29.4 Kb) · 7971196.png (27.8 Kb)


 
SlaVe4UДата: Среда, 12.01.2011, 03:39 | Сообщение # 49
Главный Администратор
Группа: Администраторы
Сообщений: 320
Награды: 23
Репутация: 222
Статус: Offline
Рис. 6. Принципиальная схема суммирующего усилителя тока
Чтобы выделить составляющую напряжения, пропорциональную измеряемому току, применен суммирующий операционный усилитель 17 (рис. 6). Операционный усилитель выполнен на основе усилителя, примененного в выходных каскадах генератора пилообразного напряжения. На один из входов суммирующего усилителя подается выходной сигнал балансного усилителя, а на второй через резисторы R1, R1' или R2, R2' — напряжение для компенсации пилообразного напряжения. Переменным резистором R5 устанавливают нулевой выходной потенциал операционного усилителя.

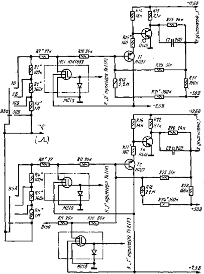
Рис. 7. Принципиальная схема суммирующих усилителей
Суммирующие усилители “X” и “Y” 18 и 19 (рис. 7) служат для распределения сигналов на входы усилителей отклонения луча ЭЛТ за время цикла работы прибора. Каждый из них состоит из входного делителя, коммутируемого переключателем В5, электронного ключа (МС1) и операционного усилителя (транзисторы Т1, ТЗ и T2, Т4}. На вход усилителя “X” поступает соответствующее пилообразное напряжение, а на входы усилителя “Y” - соответствующее пилообразное напряжение и напряжение, пропорциональное измеряемому току. Управление электронными ключами осуществляется триггерами 10 и 11.
Усилители отклонения “X” и “Y”. Принципиальная схема усилителей отклонения XV” и “У” 21 и 20 приведена на рис. 8.

Каждый из усилителей представляет собой четырехкаскадный дифференциальный усилитель.
Для управления лучом ЭЛТ предусмотрены следующие регулировки: балансировка (переменный резистор R19), усиление (R12) и перемещение (R9).
Более подробное описание аналогичной схемы усилителя дано в статье “Малогабаритный осциллограф”, опубликованной в журнале “Радио”, 1974, № 8.

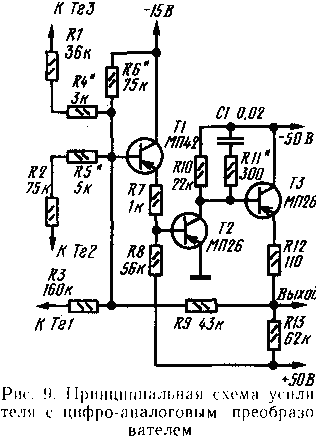
Усилитель с цифро-аналоговым преобразователем (усилитель ЦАП) (рис. 9) служит для формирования ступенчато изменяющегося напряжения отрицательной полярности. Он представляет собой суммирующий усилитель, на вход которого подключен ЦАП (резисторы R1—R3). Резистором R6 устанавливают начальный уровень выходного ступенчатого напряжения.
Прикрепления: 8446440.png (42.5 Kb) · 7690063.png (34.2 Kb) · 3213785.png (13.9 Kb) · 3354488.png (11.7 Kb)


 
SlaVe4UДата: Среда, 12.01.2011, 03:41 | Сообщение # 50
Главный Администратор
Группа: Администраторы
Сообщений: 320
Награды: 23
Репутация: 222
Статус: Offline
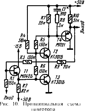
Для формирования ступенчато изменяющегося напряжения положительной полярности применен инвертирующий операционный усилитель 8 с коэффициентом передачи, равным 1 (рис. 10).
Инвертор состоит из входного эмиттерного повторителя (транзистор T1), усилителя на транзисторах T2, ТЗ и выходного эмиттерного повторителя (транзистор Т4). Коэффициент передачи усилителя зависит от отношения сопротивлений резисторов R1 и R3, R9. Если начальный уровень выходного напряжения инвертора необходимо будет регулировать независимо от начального уровня выходного сигнала усилителя ЦАП, следует предусмотреть аналогичный резистор во входной цепи инвертора.

Устройство сброса состоит из ждущею мультивибратора 7 (рис. 11) и каскада 9 на транзисторе Т1, формирующего отрицательный импульс сброса (рис. 12). Этот импульс в конце цикла работы прибора устанавливает все триггеры в первоначальное состояние. Запуск ждущего мультивибратора осуществляется положительным фронтом выходного сигнала триггера 5.
Схема узла управления электронно-лучевой трубкой (ЭЛТ) 22

приведена на рис. 13. Напряжения питания электродов трубки подаются с делителя, который подключен к высоковольтному источнику. Переменным резистором R5 регулируют яркость луча, a R7 — его фокусировку.

Импульс подсвета, сформированный модулятором яркости 12 (рис. 14), через высоковольтный стабилитрон (Л2 на рис. 12) подается на модулятор ЭЛТ. Модулятор яркости представляет собой операционный усилитель, на вход которого подается отрицательный импульс со ждущего мультивибратора, определяющий время прямого хода пилообразного напряжения. Принципиальные схемы триггера и ждущего мультивибратора приведены на рис. 15 и 11.

Все узлы характериографа собраны на дискретных элементах, которые в значительной своей части могут быть заменены интегральными схемами. На это следует обратить внимание при изготовлении прибора.
Конструкция. На горизонтальном шасси прибора установлены семь плат, на которых смонтированы электронные узлы. Блок питания прибора расположен на отдельном шасси.
Все органы управления прибором выведены на переднюю панель. Съемные крышки обеспечивают свободный доступ к узлам прибора.
Для переноски прибора предусмотрены две ручки. Подставка, укрепленная снизу прибора, позволяет устанавливать прибор под определенным углом. Внешний и внутренний виды прибора представлены на рис. 16.
Прикрепления: 4129131.png (15.8 Kb) · 7148013.png (18.3 Kb) · 1663244.png (11.0 Kb) · 8143385.png (16.4 Kb)


 
SlaVe4UДата: Среда, 12.01.2011, 03:43 | Сообщение # 51
Главный Администратор
Группа: Администраторы
Сообщений: 320
Награды: 23
Репутация: 222
Статус: Offline
40
В цифровых устройствах на микросхемах большую роль играют различные формирователи импульсов - от кнопок и переключателей, из сигналов с пологими фронтами, дифференцирующие цепи, а также мультивибраторы. В данном разделе книги рассмотрены некоторые вопросы построения таких формирователей и генераторов на микросхемах серий КМОП.
Как известно, непосредственная подача сигналов от механических контактов на входы интегральных микросхем допустима не всегда изза так называемого «дребезга» - многократного неконтролируемого замыкания и размыкания контактов в момент их переключения. Если входы, на которые подается сигнал, нечувствительны к дребезгу, например входы установки триггеров и счетчиков, непосредственная подача сигналов допустима (рис. 282). Подача сигналов на счетные входы требует специальных мер по подавлению дребезга, без них возможно многократное срабатывание триггеров и счетчиков.

В устройствах на микросхемах КМОП вполне применимы меры по борьбе с дребезгом, известные из опыта работы с микросхемами ТТЛ, например, включение статического триггера на двух элементах И-НЕ (рис. 283, а, б) или ИЛИ-НЕ. Однако чрезвычайно высокое входное сопротивление микросхем КМОП (по-
рядка сотен и тысяч мегаом) и относительно высокое выходное сопротивление (сотни ом - один килоом) позволяет упростить цепи подавления дребезга, исключив резисторы (рис. 283, в, г). Вариантом схемы рис. 283 (г) является устройство по схеме рис. 283 (д), собранное всего лишь на одном неинвертирующем логическом элементе.
Здесь следует сказать несколько слов о неинвертирующих логических элементах серий КМОП. Большинство логических элементов этих серий являются инвертирующими. Неинвертирующими являются микросхемы К176ПУЗ, К561ПУ4, КР1561ПУ4, К176ПУ5,564ПУ6, К561ПУ8, К561ЛНЗ, К176ЛП2, К561ЛП2, К561ЛП13, К561ЛП14, К176ЛС1, К176ЛС2, К176ЛИ1, КР1561ЛИ2, К561ИК1. Как указывалось выше, микросхемы, содержащие в своем обозначении буквы «ПУ», служат для согласования микросхем КМОП с микросхемами ТТЛ. По этой причине их выходные токи при подаче на их выходы напряжения питания или соединении выходов с общим проводом в устройстве по схемам рис. 283 (в, г, д) могут достигать многих десятков миллиампер,

что отрицательно сказывается на надежности устройств и может служить мощным источником помех. В мультивибраторах и триггерах Шмитта, описываемых ниже, также невыгодно применять такие микросхемы из-за больших токов, потребляемых ими в процессе плавного изменения входного сигнала. По тем же причинам не рекомендуется в описываемых здесь устройствах использовать инвертирующие микросхемы К176ПУ1, К176ПУ2, К561ЛН1, К561ЛН2.
Поэтому в дальнейшем под неинвертирующим логическим элементом подразумевается или два последовательно включенных любых инвертирующих элемента (кроме отмеченных выше), или микросхема КР1561ЛИ1, или микросхемы К176ЛП2, К561ЛП2, К561ЛП13, К561ЛП14, К176ЛС1, К561ЛС2, К561ИК1. включенные как неин-
вертирующие элементы. О возможности их использования в качестве неинвертирующих указано в предыдущей главе книги. Иногда удобно в качестве .неинвертирующего элемента использовать свободный триггер микросхемы К176ТМ2 или К561ТМ2 (рис. 284).
Микросхему К176ЛИ1 также можно использовать как неинвертирующий элемент рассматриваемых далее устройств, однако

это не очень удобно, так как в одной микросхеме содержится всего один девятивходовый неинвертирующий элемент И и один инвертор.
Большое входное сопротивление микросхем КМОП позволяет в некоторых случаях обойтись вообще без активных элементов для подавления дребезга. На рис. 285 (а) приведена схема подачи импульсов от кнопки на счетный вход триггера или счетчика. Конденсатор С1 в исходном состоянии заряжен до напряжения питания. При нажатии на кнопку размыкание нормально замкнутого контакта не приведет к изменению напряжения на конденсаторе С1. Первое касание подвижного и нормально разомкнутого контакта приведет к быстрому разря-ду конденсатора С1 и напряжение на нем станет равным нулю. Дальнейший дребезг контактов не приведет к изменению напряжения на конденсаторе. Недостатком схемы является опасность наводок помех на проводник, соединяющий кнопку и вход микросхемы. Если наводки действительно возникают, этот проводник следует заэкранировать.
Прикрепления: 0940280.png (34.8 Kb) · 3672382.png (182.7 Kb) · 2633006.png (32.3 Kb) · 9816495.png (100.4 Kb)


 
SlaVe4UДата: Среда, 12.01.2011, 03:44 | Сообщение # 52
Главный Администратор
Группа: Администраторы
Сообщений: 320
Награды: 23
Репутация: 222
Статус: Offline
Все рассмотренные выше схемы подавления дребезга требовали применения переключающих контактов кнопок. Если выполнение этого требования затруднено, возможно использование устройств по схемам рис. 285 (б, в). Цепь на схеме рис. 285 (б) формирует короткий импульс отрицательной полярности (порядка 0,7 мкс на уровне 0,5) в момент первого касания контактов кнопки, в результате чего конденсатор С1 быстро заряжается через резистор R2. Дальнейший дребезг контактов кнопки не влияет на выходное напряжение, так как разряд конденсатора С1 происходит через резистор R1 значительно большей величины.
Если необходимо получить длительность выходного импульса, равную длительности нажатия на кнопку с одной парой контактов, можно использовать подавление дребезга с помощью интегрирующей цепи и триггера Шмитта (рис. 285, в). Дребезг импульса на резисторе
R1 сглаживается цепью R2C1. Триггер Шмитта DD1 формирует крутые фронты выходного сигнала.
Для подавления дребезга контактов кнопки с одной парой контактов можно использовать цепь, три варианта схемы которой приведены на рис. 286. Цепь по схеме рис. 286 (а) По функционированию близка интегрирующей цепи и триггеру Шмитта рис. 285 (в). В исходном состоянии на входе и выходе цепи лог. 1. При замыкании кнопки S1 на левой обкладке конденсатора С1 напряжение начинает снижаться и, если постоянная времени R2C1 выбрана достаточно большой, достигает порога переключения элемента DD1.1 после прекращения дребезга Элементы DD1.1 и DD1.2 переключаются, на выходе появляется лог. 0 Положительная обратная связь обеспечивает крутые фронты сигнала на выходе элемента DD1.2. При размыкании контактов переключение происходит аналогично. В результате на выходе цепи формируется импульс, длительность которого соответствует времени замыкания контактов, а фронт и спад импульса несколько задержаны относительно моментов замыкания и размыкания контактов (рис. 286, б).

Если необходимо получить фронты выходного сигнала точно в моменты размыкания или замыкания кнопки, можно использовать варианты цепи по схемам рис. 286 (в, д). Первая из них (рис. 286, в) при замыкании кнопки формирует на выходе лог. О аналогично цепи рис. 286 (а). При размыкании кнопки лог. 1 поступает на нижний по схеме вход элемента DD1.1, оба элемента DD1.1 и DD1.2 переключаются, лог. 1 с выхода элемента DD1.2 через конденсатор С1 поступает на вход элемента DD1.1 и удерживает его во включенном состоянии на время дребезга контактов кнопки S1 (рис. 286, г).
Аналогично работает цепь по схеме рис. 286 (д), однако ее включе-

ние происходит при первом замыкании контактов кнопки S1, выключение - после окончания дребезга разомкнувшейся кнопки (рис. 286, е).
Переключатели с взаимовыключением можно построить на основе многостабильного триггера. Вариант схемы переключателя на три положения приведен на рис. 287. При включении питания лог. 0 с разряженного конденсатора С1 через диод VD1 поступает на входы элементов DD1.1 и DD1.2 и выключает их. На их выходах появляются лог. 1, которые, поступая через резисторы R1 и R2 на входы элемента DD1.3, включают его, и лог. 0 с его выхода удерживает элементы DD1.1 и DD1.2 в выключенном состоянии и после заряда конденсатора С1 через резистор R4. Таким образом, в исходном состоянии на выходах 1 и 2 лог. 1, на выходе 3 - лог. 0.
При нажатии на кнопку SB1 на выходах 2 и 3 появляется лог. 1, на выходе 1 - лог. 0. Аналогично при нажатии на кнопку SB2 лог. 0 появляется на выходе 2, на кнопку SB3 - на выходе 3. Переключение выходных сигналов происходит без дребезга.
При одновременном нажатии двух или трех кнопок на всех трех входах появляется лог. 1, что соответствует отсутствию активных выходных сигналов. При отпускании кнопок лог. 0 появится на выходе, соответствующем последней нажатой кнопке. Однако снятие и появление выходных сигналов при нажатии нескольких кнопок происходит без подавления дребезга.
Недостаток такого переключателя - необходимость применения логических элементов с большим числом входов для построения переключателей на большое число положений. Для переключателя на
четыре положения необходимо четыре трехвходовых элемента И-НЕ (ИЛИ-НЕ), для переключателя на пять положений - пять
Прикрепления: 3732914.png (198.6 Kb) · 4506393.png (50.7 Kb) · 2547359.png (61.2 Kb)


 
SlaVe4UДата: Среда, 12.01.2011, 03:45 | Сообщение # 53
Главный Администратор
Группа: Администраторы
Сообщений: 320
Награды: 23
Репутация: 222
Статус: Offline
четырехвходовых элементов. При большем числе положений переключатели целесообразно строить на других принципах.
На рис. 288 приведена схема переключателя на четыре положения. При включении питания цепь C1R6 устанавливает все триггеры микросхемы DD1 в нулевое состояние. При нажатии любой из кнопок, например SB1, в момент размыкания верхнего по схеме контакта кнопки на вход D1 микросхемы приходит лог. 1, в момент замыкания нижнего
контакта на вход С - лог. 0. При размыкании кнопки изменение сигнала на входе С с лог. 0 на лог. 1 установит триггер со входом D1 в единичное состояние, на выходе 1 появится лог. 1. Так работал бы переключатель, если бы не было дребезга контактов. Из-за дребезга единица записывается в триггер при нажатии кнопки.
При нажатии любой другой кнопки после отпускания первой в единичное состояние установится соответствующий ей триггер, а первый триггер сбросится. Если нажать вторую кнопку, не отпуская первой, лог. 1 останется на выходе, соответствующем первой кнопке. Однако если вначале будет отпущена первая кнопка, затем вторая, в момент отпускания второй кнопки лог. 1 появится на выходе, соответствующем второй кнопке.
Переключатель по схеме рис. 288 может быть изготовлен и на большее число положений, его недостатком является необходимость использования переключающих контактов кнопок. Если необходимо изготовить переключатель на большое количество положений при использовании кнопок с одной парой замыкающих контактов, можно воспользоваться схемой рис. 289.
Цепь C1R5 служит для начальной установки в нулевое состояние триггеров микросхем DD3 и DD4. При нажатии любой из кнопок, например SB1, лог. 1 поступает на соответствующий вход одной из микросхем DD3 или DD4, в данном случае на вход D1 микросхемы DD3. Кроме того, лог. 1 через элемент ИЛИ (DD1, DD2.1) поступает на цепь подавления дребезга R6, С2, DD2.2, DD2.3 и с небольшой задержкой
$IMAGE1$
появляется на входах С микросхем DD3 и DD4. В результате соответствующий триггер устанавливается в единичное состояние и на выходе переключателя появляется лог. 1. В данном случае лог. 1 появится на выходе 1 переключателя.
Если при нажатой кнопке нажать еще одну или несколько кнопок переключателя, изменений в состоянии переключателя не произойдет как при нажатии, так и при отпускании кнопок. Запись в триггеры переключателя возможна только при нажатии кнопки из состояния, в котором все кнопки отпущены.
Принципиально в переключателях по схемам рис. 288 и 289 возможно появление двух выходных сигналов при одновременном нажатии двух кнопок. Для переключателя по схеме рис. 288 это возможно в том случае, когда при нажатии двух кнопок их подвижные контакты будут одновременно находиться в незамкнутом ни с одним неподвижным контактом состоянии. Для переключателя по схеме рис. 289 одновременное появление двух выходных сигналов произойдет в случае, когда интервал времени между нажатием кнопок будет меньше задержки цепи подавления дребезга.
Для преобразования напряжения из синусоидального или другой формы с плавными фронтами в прямоугольные импульсы с хорошей формой используются триггеры Шмитта (рис. 290). Для этой схемы
эффективное значение входного напряжения синусоидальной формы должно составлять от 0,25 до 0,5 напряжения питания.
Описанные в первом разделе триггеры микросхем К561ТЛ1 и КР1561ТЛ1, а также триггер на основе микросхемы К176ЛП1 имеют неизменяемые пороги переключения. При необходимости использования триггеров Шмитта с другими порогами можно строить их, охватывая обратной связью неинвертирующий
логический элемент и подавая входной сигнал через резистор (рис. 291). Пороги включения Uвкл и выключения Uвыкл такого триггера можно найти по формулам:
Uвкл= (1 + R1/R2)Uпор
Uвыкл=Uпор-(Uпит-Uпор)R1/R2 где Uпор - пороговое напряжение логическо
$IMAGE2$
$IMAGE3$


 
SlaVe4UДата: Среда, 12.01.2011, 03:47 | Сообщение # 54
Главный Администратор
Группа: Администраторы
Сообщений: 320
Награды: 23
Репутация: 222
Статус: Offline
го элемента. Обычно пороговое напряжение логических элементов близко к половине напряжения питания, поэтому пороги включения и выключения можно вычислить по формулам:
Uвкл = (1 + R1/R2)Uпит/2;
Uвыкл=(1-R1/R2)Uпит/2.
Ширина петли гистерезиса Uг (разность порогов включения и выключения) не зависит от Uпор и равна:
Uг=UпитR1/R2.
Для формирования коротких импульсов из перепадов на выходах микросхем применяют дифференцирующие цепи. На рис. 292 (а) показана дифференцирующая цепь для получения импульса по фронту входного импульса положительной полярности, на рис. 292 (б) - по спаду. Диоды VD1 и VD2 являются защитными и входят в состав микросхем серий К561, КР1561,564 и серии К176 выпуска последних лет. Как указывалось в первом разделе, в микросхемах серии К176 старых выпусков установлен только один диод - стабилитрон VD2 с напряжением включения порядка 30 В.
Резистор R2 служит для ограничения входного тока через конденсатор СГи входные диоды VD1 и VD2. Нагружая микросхему - источник сигнала, этот ток увеличивает длительность фронта на выходе микросхемы - источника, а ток более 20 мА, текущий через защитные

диоды, может привести к порче микросхем, подключенных ко входу и выходу дифференцирующей цепочки, особенно при питании устройства от источника питания с напряжением более 9 В. Сопротивление резистора R2 выбирают порядка 3...10 кОм, если напряжение питания менее 9 В и увеличение нагрузки на микросхему - источник сигнала не является принципиальным, этот резистор не ставят.

Эффективная длительность импульсов на выходе дифференцирующей цепочки 0,7R1C1, длительность спада - 2R1C1.
В радиолюбительских конструкциях для формирования коротких импульсов из перепадов можно встретить так называемую RCD-цепь, схема одного из вариантов которой приведена на рис. 293, иногда она используется без диода. Такая цепь по результату своей работы эквивалентна простейшей дифференцирующей цепочке, но сложнее ее, не имеет никаких преимуществ и поэтому не может быть рекомендована к применению.
В этом отношении интересна цепь по схеме рис. 294, формирующая короткие выходные импульсы по фронту и спаду входного. Длительность импульсов на выходе формировате-
лей по схемам рис. 293 и 294 такая же, как и для дифференцирующей цепочки, - 0.7R1C1.
Импульсы с фронтами или спадами длительностью более 10 мкс, поступая на входы микросхем КМОП, могут вызывать их генерацию, неустойчивую работу триггеров и счетчиков, поэтому при необходи-мости получения импульсов с длительностью более 10 мкс после диф(ференицуюшей цепочки целесообразно установить триггер Шмитта.
Другим решением для формирования длительных импульсов является применение ждущих мультивибраторов.
Описанные выше ждущие мультивибраторы КР1561АГ1 не всегда доступны, а если в устройстве нужен всего один ждущий мультивибратор, его тем более удобно собрать на логических элементах. На рис. 295 при-

ведена основная схема ждущего мультивибратора на элементах И-НЕ, запускаемого спадом положительного импульса. В исходном состоянии конденсатор С2 разряжен, на обоих входах элемента DD1.1 и на выходе элемента DD1.2 лог. 1. При поступлении с выхода дифференцирующей цепочки короткого импульса отрицательной полярности элемент DD1.1 выключается (рис. 296), DD1.2 включается и на его выходе появляется лог. 0. Спад напряжения с выхода элемента DD1.2 через конденсатор С2 передается на вход элемента DD1.1 и поддерживает его в выключенном состоянии. Конденсатор С2 начинает заряжаться током через резистор R2 от нуля до напряжения питания. Когда напряжение на левой по схеме обкладке конденсатора С2 достигнет порога включения элемента DD1.1, он включится, на выходе элемента DD1.2 напряжение начнет повышаться, это повышение, передаваясь через С2 на вход DD1.1, вызовет лавинообразный
Прикрепления: 3048473.png (77.1 Kb) · 2348370.png (51.7 Kb) · 9691992.png (42.3 Kb)


 
SlaVe4UДата: Среда, 12.01.2011, 03:48 | Сообщение # 55
Главный Администратор
Группа: Администраторы
Сообщений: 320
Награды: 23
Репутация: 222
Статус: Offline

процесс переключения обоих элементов. Диод VD1 необходим, если требуется быстрое восстановление исходного состояния ждущего мультивибратора. Он не нужен, если используются элементы микросхем серий К561, КР1561, 564 или К176 с двумя защитными диодами, так как диоды входят в их состав.
В радиолюбительских конструкциях распространен ждущий мультивибратор по схеме рис. 297. При запуске мультивибратора коротким импульсом отрицательной полярности оба инвертора переключаются и напряжение на входе инвертора DD2 начинает снижаться
по экспоненте, стремясь в пределе к нулю (рис. 298). Когда оно приближается к порогу переключения инвертора DD2, напряжение на его выходе начинает плавно повышаться, и когда оно достигнет порога переключения элемента DD1, напряжение на его выходе начинает снижаться, замыкается положительная обратная связь, возникает лавинообразный процесс переключения элементов мультивибратора.
Нетрудно видеть, что спад импульса, сформированного таким ждущим мультивибратором на выходе DD2, имеет затянутый участок, сигнал с этого выхода использовать нежелательно, следует использовать импульсы с выхода элемента DD1.

Иногда в радиолюбительских конструкциях можно встретить случаи запуска ждущего мультивибратора, собранного по схеме рис. 297, импульсом, длительность которого превышает длительность выходного импульса, без дифференцирующей цепи на входе. В этом случае устройство формирует выходной импульс соответствующей длительности с пологим спадом (рис. 299, г). Однако положительная обратная связь не замыкается, соединение выхода инвертора DD2 со входом DD1 никакой роли не играет. При таком запуске устройство эквивалентно двум инверторам, между которыми включена дифференцирующая цепь. Более целесообразно применить описанный выше ждущий мультивибратор, собранный по схеме рис. 295. В нем импульс на выходе DD1.2 не имеет затянутых фронтов (рис. 296), входной импульс для DD1.1, как для ждущего мультивибратора по схеме рис. 297, должен быть короче выходного.
Использование микросхем, которые могут работать в качестве логических неинвертирующих элементов И или ИЛИ, позволяет упростить схемы ждущих мультивибраторов. На рис. 300 (а) приведена схема ждущего мультивибратора на одном логическом элементе ИЛИ из микросхемы К561ЛС2, на оба управляющих входа которой подано напряжение питания. На рис. 300 (б) проиллюстрирована

возможность стробирования запуска четырех ждущих мультивибраторов на микросхеме К561ЛС2. Мультивибратор может запуститься лишь при подаче на вход Строб лог. 1 и фронта положительного импульса на вход запуска. Генерируемый импульс может быть оборван подачей лог. 0
на вход Срыв.
Большой гибкостью в отношении своего запуска обладают ждущие мультивибраторы нa JK- и D-триггерах. Устройства по схеме рис. 301 могут быть запущены или коротким импульсом, подаваемым на вход S триггера, или фронтом положительного импульса, подаваемого на вход С. Лог. 1, появляющаяся на прямом выходе триггера при запуске, через резистор R1 начинает заряжать конденсатор С1. Когда напряжение на конденсаторе достигнет порога переключения триггера по входу R, триггер переключится в исходное состояние. Диод VD1 служит для ускорения разряда конденсатора и восстановления исходного состояния, во многих случаях он может быть исключен. Длительность импульсов для ждущего мультивибратора определяется по той же формуле» что и для дифференцирующей цепочки.
Прикрепления: 1295725.png (64.7 Kb) · 4500340.png (92.8 Kb) · 1238346.png (111.5 Kb)


 
SlaVe4UДата: Среда, 12.01.2011, 03:50 | Сообщение # 56
Главный Администратор
Группа: Администраторы
Сообщений: 320
Награды: 23
Репутация: 222
Статус: Offline

Длительность импульсов, подаваемых на вход S триггеров для запуска мультивибраторов, должна быть меньше длительности формируемых импульсов. По входам С мультивибраторы запускаются по фронтам импульсов независимо от их длительности. Недостаток ждущих мультивибраторов, собранных по схемам рис. 301, - большая длительность спадов формируемых на обоих выходах импульсов, приводящая к неодновременному переключению элементов, подключенных к ним. Во всех описанных выше мультивибраторах возможно применение полярных конденсаторов.
Если в ждущих мультивибраторах на JK- и D-триггерах левый по схеме вывод конденсатора отключить от общего провода и подключить к инверсному выходу триггера (рис. 302), можно существенно уменьшить длительность спада формируемого импульса на инверсном выходе триггера. В этих ждущих мультивибраторах нельзя, однако. применять полярные кондесаторы.

Малая длительность спада на инверсном выходе триггера объясняется тем, что положительная обратная связь замыкается через времязадающий конденсатор при незначительном возрастании напряжения на этом выходе, а не когда оно достигнет порога переключения элемента.
Все же, если не требуется возможность запуска ждущего мультивибратора по двум входам, из которых один чувствителен именно к фронту импульса, применять ждущие мультивибраторы на JK-и D-триггерах нецелесообразно. Более того, если можно обойтись дифференцирующей цепочкой, никакой ждущий мультивибратор лучше не использовать вообще.
Широко используемая схема простого генератора импульсов (мультивибратора) приведена на рис. 303. Работа такого мультивибратора несколько различается для случаев применения в них микросхем
серии К176 с одним защитным диодом или серии К176 и остальных серий с двумя диодами.
Форма колебаний в генераторе на микросхемах с одним диодом приведена на рис. 304. Верхняя диаграмма показывает зависимость от времени напряжения на левой обкладке конденсатора, нижняя -на выходе генератора. Спад напряжения

с выхода элемента DD2, поступая на вход элемента DD1 через конденсатор С1 и резистор R2, ограничивается входным диодом на уровне, близком к лог. О, после чего начинается заряд конденсатора через резистор R1, повышающий напряжение на левой обкладке конденсатора. Время его заряда до порогового напряжения примерно равно 0.7R1C1. Лавинообразный процесс переключения элементов приведет к передаче с выхода элемента DD2 на вход элемента DD1 положительного перепада напряжения с амплитудой, равной напряжению питания. Перезаряд конденсатора С1 в сторону уменьшения напряжения на левой обкладке начнется от напряжения Uпит + Uпор , в результате чего на этот процесс уйдет большее время - около 1,1R1C1. Полный период колебаний составит 1.8R1C1, частота - 0,55/R1CI.
Если в генератор установлены микросхемы с двумя защитными диодами, длительность обоих процессов перезаряда конденсатора будет одинаковой - 0.7R1C1, полный период - 1.4R1C1, частота - 0,7/R1C1.
Резистор R2 нужен, как и в дифференцирующих цепочках, для ограничения тока через входные диоды и уменьшения нагрузки на элемент DD2. Если его величина значительно меньше, чем у резистора R 1, он на частоту генерации не влияет. При соизмеримых величинах R1 и R2 частота генерации несколько снижается по сравнению с рассчитанной по приведенным выше формулам. Часто резистор R2 не ставят или устанавливают последовательно с конденсатором С1.
Прикрепления: 9304865.png (82.3 Kb) · 4214242.png (104.9 Kb) · 0415736.png (33.6 Kb) · 6122248.png (77.4 Kb)


 
SlaVe4UДата: Среда, 12.01.2011, 03:51 | Сообщение # 57
Главный Администратор
Группа: Администраторы
Сообщений: 320
Награды: 23
Репутация: 222
Статус: Offline
$IMAGE1$
Хорошо известна также схема мультивибратора на двух инверторах (рис. 305), но частота генерации в нем менее стабильна.
Приведенное выше описание работы мультивибратора опиралось на идеализированную модель инвертора, в котором выходной сигнал равен напряжению питания, пока входное напряжение меньше порога переключения, и равно нулю, если входное напряжение выше порога. Однако в реальных микросхемах есть более или менее протяженный участок зависимости выходного напряжения от входного, на котором плавное изменение входного сигнала приводит к плавному изменению выходного (рис. 161). Он хорошо заметен в инверторах микросхемы К561ЛН2, элементах ИЛИ-НЕ серии К561, инверторах генераторов микросхем К176ИЕ5, К176ИЕ12, К176ИЕ18. В большинстве микросхем серии К176 и всех микросхемах серии КР1561 имеется два дополнительных инвертора, которые делают передаточную характеристику очень резкой, иногда даже гистерезисной. Наличие плавного участка и приводит к различию в работе генераторов по схемам рис. 303 и 305.
Рассмотрим подробно работу генератора по схеме рис. 303 на элементах с двумя защитны-
ми диодами с момента, когда на входе инвертора DD1 напряжение равно нулю. В этом случае на выходе инвертора DD2 напряжение также равно нулю, а на выходе DD3 - напряжению питания. Конденсатор С1 заряжается через резистор R1 по экспоненте, напряжение на его левой обкладке при этом стремится в пределе к напряжению питания (рис. 306, а). Когда напряжение на входе DD1 подойдет к порогу переключения, напряжение на выходе DD1 начнет плавно снижаться (рис. 306, б) и когда оно приблизится к порогу переключения инвертора DD2, напряжение на выходе DD2 начнет повышаться (рис. 306, в). Небольшое повышение напряжения на выходе инвертора DD2 передастся через конденсатор С1 на вход DD1, что вызовет лавинообразный процесс переключения всех инверторов генератора. Напряжение на выходе инвертора DD3 станет равным
нулю, на входе DD1 несколько превысит напряжение питания (оно будет ограничено входным защитным диодом инвертора), начнется аналогичный рассмотренному выше процесс перезаряда конденсатора с плавным уменьшением напряжения на входе DD1.
Если рассмотреть процессы в генераторе по схеме рис. 305 с того же момента, можно заметить, что вначале заряд конденсатора С1 происходит аналогично (рис. 307, а). Отличие начинается тогда, когда напряжение на выходе инвертора DD1 начинает уменьшаться (рис. 307, б). Уменьшение напряжения на выходе DD1 приведет к уменьшению напряжения на резисторе R1, что уменьшает скорость перезаряда конденсатора. Отрицательная обратная
$IMAGE2$
связь через резистор R1 стремится установить напряжения на входе и выходе инвертора DD1 равными, в результате чего скорость изменения напряжения на выходе инвертора DD1 уменьшается и на спаде импульса появляется характерная ступенька. Если порог переключения инвертора DD2 равен порогу переключения инвертора DD1, при приближении напряжения на выходе DD1 к этому порогу начнется повышение напряжения на выходе DD2 (рис. 307, в), что вызовет лавинообразный процесс переключения обоих инверторов генератора.
Нетрудно видеть, что при тех же параметрах времязадающей RC-цепи период колебаний в генераторе по схеме рис. 305 будет несколько больше, чем у генератора по схеме рис. 303, а стабильность периода - хуже, так как напряжение на входе DD1 перед началом лавинообразного процесса меняется более плавно, и небольшие изменения порогового напряжения одного инвертора относительно другого приведут к значительному изменению периода работы генератора. Более того, при значительном отличии порогов переключения инверторов (а в микросхемах КМОП диапазон положения порога переключения составляет от 1/3 до 2/3 напряжения питания) генератор может вообще не заработать - напряжение на выходе первого инвертора за счет отрицательной обратной связи через резистор R1 застабилизируется на уровне его порога переключения, при этом оно будет находиться вне зоны переключения второго инвертора, положительная обратная связь через конденсатор С1 не замкнется, и инвертор DD2 не переключится. Поэтому в генераторе
по схеме рис. 305 следует всегда использовать инверторы одной микросхемы. Для генератора по схеме рис. 303 разброс порогов переключения инверторов не играет никакой роли, и инверторы могут быть из разных микросхем.
Поскольку процесс переключения инверторов в генераторе по схеме рис. 305 длится большее время, потребляемый этим генератором от источника питания ток больше.


 
SlaVe4UДата: Среда, 12.01.2011, 03:52 | Сообщение # 58
Главный Администратор
Группа: Администраторы
Сообщений: 320
Награды: 23
Репутация: 222
Статус: Offline
Из рассмотрения работы генераторов следует важный практический вывод - выходной сигнал нежелательно снимать с выхода инвертора, к входу которого подключены времязадающие конденсатор и резистор (DD1). Фронты импульсов на этом выходе затянуты, кроме того, в генераторе по схеме рис. 305 на фронтах на этом выходе имеется ступенька, и их использование может привести к неодновременному срабатыванию элементов, подключенных к этому выходу, изза разброса порогов переключения микросхем. Кроме того, для триг-геров и счетчиков техническими условиями длительность фронтов импульсов, подаваемых на счетный вход, ограничена сверху, и подача затянутых фронтов на них недопустима. Эта рекомендация относится и к другим схемам генераторов и ждущих мультивибраторов.
Следует отметить, что из-за емкостной нагрузки несколько затягиваются фронты импульсов также на тех выходах элементов генераторов и ждущих мультивибраторов, к которым подключены времязадающие конденсаторы (DD2 на рис. 303 и 305). Поэтому выходные импульсы генератора по схеме рис. 303 лучше брать с выхода DD3, в любим генераторе или ждущем мультивибраторе устранить такое затягивание фронта можно включением последовательно с конденсатором или с входом DD1 резистора с сопротивлением 5...10 кОм.

В генераторе на трех инверторах (рис. 303) два из них (DD1.1 и DD1.2) можно заменить на повторитель сигнала. Удобно использовать микросхему К561ЛП2, поскольку каждый ее элемент может работать или как повторитель сигнала при соединении второго входа с общим проводом, или как инвертор при подаче на второй вход напряжения источника питания (рис. 308).
Отметим также, что если в качестве первого инвертора в генераторах по схемам рис. 303 и 305 ис-
пользовать триггер Шмитта, их работа и параметры различаться не будут - при достижении напряжения на входе инвертора DD1 соответствующего порога переключения он скачкообразно переключается, что
приводит к четкому переключению последующих инверторов (рис. 309).
Для построения генераторов очень удобны элементы микросхем, имеющие прямые и инверсные выходы и непосредственное прохождение сигнала со входа на эти выходы. На рис. 310 (а) приведена схема генератора на элементе микросхемы К176ПУ5, на рис. 310 (б) - на части микросхемы К561ТМЗ. По этим схемам можно строить до четырех генераторов на одной микросхеме. В схеме рис. 310 (а) оба вывода питания микросхемы К176ПУ5 (15 и 16) должны быть объединены, на них подано напряжение 5...10 В. В уст-

ройстве по рис. 310 (б) входы С1 и С2 могут использоваться для блокировки работы генераторов при подаче на один из них низкого уровня, на другой - высокого.
На рис. 311 приведена схема генератора, удобного в тех случаях, когда необходимо получить сетку частот, переключаемых при помощи набора резисторов, и подстройку частот этой сетки пои сохране-

нии отношений частот (частотного строя). Переключателем SA1 можно выбрать любой из резисторов R4 - Rп, задающих частоту, а подстроить частоту можно переменным резистором R2, при этом любая подстройка резистором R2 будет приводить к одинаковому относительному изменению любой из частот, выбранной переключателем. При смещении
движка резистора R2 вверх по схеме уменьшаются перепады напряжения, передаваемые через конденсатор С1 на вход элемента DD 1, скорость перезарядки конденсатора при этом не меняется, поэтому частота импульсов увеличивается. Резистор R1 необходим для установки диапазона регулирования частоты резистором R2, этот диапазон может быть установлен от единиц процентов до нескольких десятков и даже ста раз.
Прикрепления: 6543998.png (27.1 Kb) · 0360871.png (37.1 Kb) · 9218558.png (54.2 Kb)


 
SlaVe4UДата: Среда, 12.01.2011, 03:54 | Сообщение # 59
Главный Администратор
Группа: Администраторы
Сообщений: 320
Награды: 23
Репутация: 222
Статус: Offline

Для того чтобы регулировка частоты при помощи резистора R2 была эффективной, необходимо исключить ограничение перепадов напряжения, передаваемых через конденсатор С1, которое существует в традиционных схемах генераторов, на входных диодах элемента DD1. Для этого установлен резистор R3, его сопротивление должно быть равно сумме сопротивлений резисторов R1 и R2 или несколько больше, чтобы по крайней мере в 2 раза уменьшить величину перепада. При меньшей величине или отсутствии R3 частота практически не изменяется, если сопротивление нижней по схеме части резистора R2 в сумме с R3 меньше сопротивления верхней части R2 в сумме с R1.
Чтобы сохранить строй при регулировке частоты, сопротивление резистора R3 должно быть в несколько десятков раз меньше, чем резисторов R4 - Rп. Для облегчения выполнения этого условия между выходом элемента DD2 и резистором R3 можно установить эмиттерный повторитель на транзисторе р-n-р. Верхний вывод резистора R1 можно подключить И к общему проводу, но нагрузочная способность микросхем КМОП, так же как ТТЛ, в единичном состоянии ниже, чем в нулевом, поэтому выполнение указанного выше условия в этом случае затруднено. Ориентировочные значения сопротивлений резисторов: R1 в сумме с R2 и R3 не менее 5 кОм, R1 - более 0,01R2, R4 -Rп - в 30 и более раз больше суммы R1 и R2. При наличии эмиттерного повторителя номиналы всех резисторов можно уменьшить в 10 раз.
Данный генератор удобно использовать для модуляции частоты импульсов, если на верхний по схеме вывод резистора R1 подать управляющее переменное напряжение.
На рис. 312 (а) приведена схема генератора, в котором можно отдельно регулировать длительность импульса и паузу между импульсами. В генераторе по схеме рис. 312 (б) можно в широких пределах регулировать скважность импульсов, практически не изменяя их частоту.

Запуск любого генератора и его останов можно производить установкой в качестве любого из DD1 - DD3 какого-либо двухвходового логического элемента (И-НЕ, ИЛИ-НЕ, Исключающее ИЛИ) и подачей на его второй вход управляющего сигнала.
На рис. 313 приведена схема генератора, формирующего пачки импульсов с частотой заполнения 1000 Гц, частота повторения пачек - около 1 Гц, длительность - 0,5 с. Генерация пачек происходит лишь при подаче лог. 1 на вход Запуск генератора. Первый импульс первой пачки появляется сразу после подачи разрешающего сигнала.

На рис. 314 приведена схема генератора, генерирующего на своем выходе импульсы, задержанные относительно момента подачи разрешающего сигнала. Все генерируемые на Вых. 1 генератора импульсы имеют одинаковую длительность. Если сигнал разрешения снимается до окончания очередного импульса, импульс генерируется полностью. На Вых. 2 импульсы появляются сразу после подачи разрешающего сигнала, но последний импульс может быть неполной длительности.
Прикрепления: 2168113.png (99.3 Kb) · 3257424.png (45.1 Kb) · 9526536.png (35.6 Kb)


 
SlaVe4UДата: Среда, 12.01.2011, 03:55 | Сообщение # 60
Главный Администратор
Группа: Администраторы
Сообщений: 320
Награды: 23
Репутация: 222
Статус: Offline

Если необходимо совместить выдачу импульсов сразу после сигнала разрешения с обеспечением полной длительности последнего импульса независимо от момента снятия импульса разрешения, можно использовать генератор по схеме рис. 315 (а).
Особенность этого генератора - его универсальность. Если входной запускающий импульс отрицательной полярности имеет длительность, меньшую периода колебаний генератора, на его выходах

сформируется один импульс, то есть генератор действует как ждущий мультивибратор. При подаче входного импульса с длительностью, превышающей период, будет сформировано несколько импульсов полной длительности (рис. 315, б).
Простой управляемый генератор можно собрать на основе триггера Шмитта микросхемы К561ТЛ1 или КР1561ТЛ1 по схеме рис. 316 (неуправляемый - на триггере рис. 275). При лог. 0 на входе Запуск на выходе - лог. 1. При подаче на

вход Запуск лог. 1 на выходе появляется лог. 0, начинается разряд конденсатора С1. Когда напряжение на нем доходит до нижнего порога переключения, на выходе появляется лог. 1 и начинается за-
ряд конденсатора до верхнего порога переключения. Особенностью генератора является отсутствие резких бросков тока на начальных участках перезаряда конденсатора, характерных для описанных выше генераторов.
Триггеры Шмитта целесообразно также использовать в цепях установки начального состояния цифровых устройств в тех случаях, когда постоянная времени установления выходного напряжения источника питания велика и необходимо обеспечить большую длитель-

ность импульса сброса и его крутой спад (рис. 317).
При необходимости можно собрать генератор из двух ждущих мультивибраторов одной микросхемы КР1561АГ1, схема такого автогенератора приведена на рис. 318 (без времязадающих цепей). Времязадаюшая RC-цепь ждущего мультивибратора DD1.1 определяет
Прикрепления: 7807651.png (80.2 Kb) · 4206412.png (90.6 Kb) · 8132809.png (24.7 Kb) · 6409527.png (29.4 Kb)


 
Поиск:
Переместиться наверх

PS-AVATAR.ru

2026 SlaVe4U ©